Nr 2445S
Bateria ścienna z ruchomą wylewką L.200, uchwyt ażurowy
1 132,57 zł netto
Cena katalogowa netto Polska 2026
15 warianty
Nr 2445S
Bateria mechaniczna z płaską, ruchomą wylewką dolną L.200 i sitkiem higienicznym.
Wylewka przystosowana do instalacji filtra BIOFIL.
Bateria z antyoparzeniową izolacją termiczną Securitouch.
Klasyczna głowica ceramiczna Ø40 z nastawionym ogranicznikiem temperatury maksymalnej.
Korpus i wylewka gładkie wewnątrz (ograniczają nisze bakteryjne).
Brak zaworów zwrotnych w przyłączach.
Wypływ nastawiony na 5 l/min.
Korpus z chromowanego mosiądzu.
Uchwyt ażurowy.
Bateria z rozstawem 150 mm, dostarczana ze standardowymi mimośrodami Z1/2" Z3/4".
Zalecana wysokość instalacji: 110-200 mm nad umywalką.
Bateria mechaniczna przystosowana do placówek opieki zdrowotnej, domów opieki, szpitali i klinik.
Bateria przystosowana do osób z niepełnosprawnością (OzN).
Bateria mechaniczna zgodna z wymaganiami normy NF Médical (dotyczącej środowiska medycznego).
Bateria ścienna z 30-letnią gwarancją.
Zalety




Ścienna bateria mechaniczna do umywalki
Nr2445S

Technologia Securitouch
Długość wylewki 200 mm
Wypływ 5 l/min
Ogranicznik temperatury TAK
Wykończenie Chromowany mosiądz
Normy i certyfikaty




Gwarancja

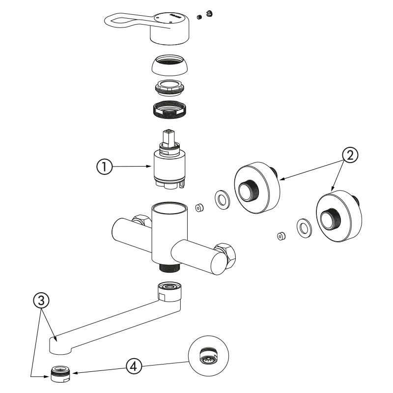
Dostępne części
Nr 2445S
Aby pobrać jeden lub więcej dokumentów związanych z tym produktem, należy zaznaczyć wybrane typy plików
Nr 2445S

Produkty dodatkowe






